| Item | Designation |
| 1 | Rubber bellows |
| 2 | Flanges |
| 3 | Reinforcement ring |
| 4 | Loose brackets |
| 5 | Tie rods |
| 6 | Nuts |
| 7 | Spherical washers |
| Item | Designation |
| 1 | Rubber bellows |
| 2 | Flanges |
| 3 | Reinforcement ring |
| 4 | PTFE liner |
| Item | Designation |
| 1 | Rubber bellows |
| 2 | Flanges |
| 3 | Reinforcement ring |
| Item | Designation |
| 1 | Rubber bellows |
| 2 | Reinforcement ring |
| Item | Designation |
| 1 | Rubber bellows |
| 2 | Flanges |
| 3 | Reinforcement ring |
| 4 | Filler |
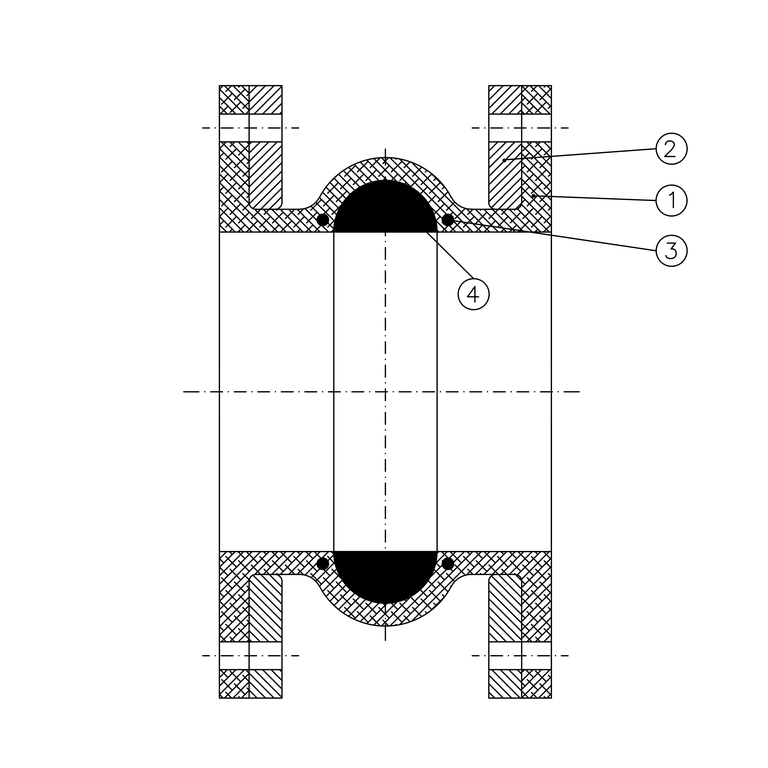
| Item | Designation |
| 1 | Rubber bellows |
| 2 | Flanges |
| Item | Designation |
| 1 | Rubber bellows |
| 2 | Flanges |
| 3 | Reinforcement ring |
| 4 | Flanges |
| 5 | Nuts |
| 6 | Rubber bellows |
| Item | Designation |
| 1 | Rubber bellows |
| 2 | Flanges |